UK flag
Hi, we also have an English version of our website!
please visit en.firstlight.nl
Nederlands Deutsch Francais English
0
   Panier

Ivela 12V rail 3m zwart

No. d'article:
23100074

Fin de série


Propriétés
Numéro d'article du fabricant 6501-30-30 Numéro d'article du fabricant.
Couleur Noir La couleur la plus fréquente dans le produit.
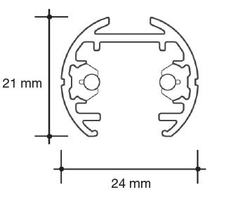
Longueur 3000mm Longueur du produit en millimètres. Quant aux tubes fluorescents, elle exclut les broches métalliques à l'extrémité, sauf indication contraire.
Marque Ivela Si le produit est indiqué comme étant sans marque, cela signifie que nous n'avons pas de fournisseur régulier pour le produit. La version peut donc être différente.
Pièces par carton extérieur 1 Nombre de pièces par carton extérieur. Pour commander des cartons entiers du produit, veuillez l'ajouter à votre panier en multiples de ce nombre.
Type de composant Rail Articles classés par type de composant.
EAN code 8720584163350 EAN code is de streepjescode van een artikel die wereldwijd wordt toegepast als artikelcodering. De EAN code extra is een code van een extra verpakkingseenheid.
EAN code (extra) 8.04.1335 EAN code is de streepjescode van een artikel die wereldwijd wordt toegepast als artikelcodering. De EAN code extra is een code van een extra verpakkingseenheid.
Ivela 12V rail 3m zwart
Downloads Vos corrections
Remarques
Nom et prénom
Phone
Adresse e-mail